浏览数量: 20 作者: 本站编辑 发布时间: 2023-12-25 来源: 本站
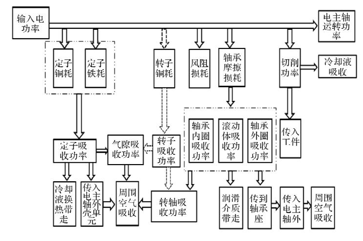
永磁同步电主轴转子几乎不发热,热源主要由两个方面组成:一是由定子的损耗引起。在此过程中,一部分热能被热对流和热辐射转移至转子系统及周边空气,而大量的热则由冷却流道内的冷却液进行强迫对流交换;二是由轴承摩擦导致。它们被润滑装置的压缩气体和轴承座的冷却液从冷却槽中排出,并通过热的方式输送到电机的转子上。
永磁同步电主轴热量流动简图如图1所示。传热是由热传导、热对流和热辐射三种主要的方式来实现的。
苏公网安备32128202000777号 