浏览数量: 19 作者: 本站编辑 发布时间: 2023-12-15 来源: 本站
以陶瓷球轴承支撑的电主轴,可使用油雾、油气润滑。这里使用油气润滑,通过气压调节过滤装置调节气阀,使油气混合定量阀的值达到正常工作值。油气润滑中空气与油混合。
压缩空气一直供给,而油以最小量方式定时供给,其中气流不仅起润滑作用,还可以带走热量。这种方式虽然所需设备复杂,成本很高,但这种润滑方式能对每个轴承分别进行精确润滑,润滑油利用率极高,轴承发热量小,无污染环境。
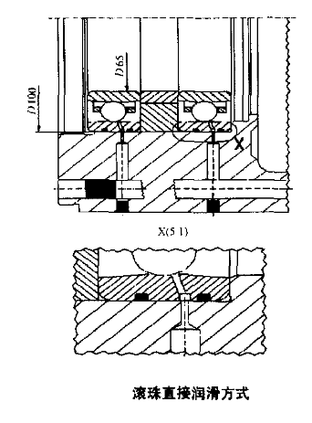
上图是滚珠直接润滑方式。通过在轴承外打一小孔将润滑站打来的油直接对准滚珠供油,从而对滚珠直接进行润滑。
苏公网安备32128202000777号 